IMS Adsorbtion & Desorbtion System

IMS Adsorbtion & Desorbtion System

Vendor
Sandia National Laboratories
Regular price
$0.00 USD
Sale price
$0.00 USD
Regular price
Sold out
Unit price
per 

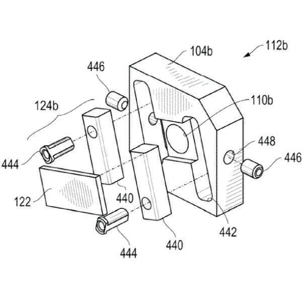
Integrated sample adsorption & desorption system for static and portable ionizing mass spectroscopy systems. Used as part of systems designed for the detection of explosives, contraband, chemical agents and other compounds of concern. The system combines collection, sampling, detection, and analysis functions in a single device.

The key innovation is the use of metal foam filters with precise pore structures to efficiently capture both particles and vapors from air drawn across the screened object. The metal foam is heated to desorb the collected sample, which is then analyzed to detect trace amounts of target materials. The patent emphasizes using EDM (electrical discharge machining) to cut the foam edges precisely, preventing compression that could reduce effectiveness.

Testing showed the MA600 nickel-chrome alloy foam collected 72% more TNT than conventional metal felt filters, making it particularly valuable for security screening applications at checkpoints, airports, and other facilities.

US Patent 8,695,443